My Garage
Cart
Cluster & Switches

1995 Toyota Tacoma A/C Switch, Blower Control Switches

Currently shopping for
1995 Toyota Tacoma
Change Vehicle
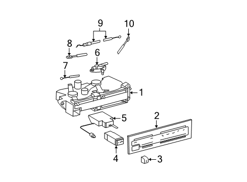
Diagram (1 of 1): Instrument panel - Cluster & switches
1995 Toyota Tacoma Cluster & Switches Diagram
Enlarge Diagram
Sort by:
Ref No.
Ref No.
Part No. & Part Description
Price & Qty.
Part No. &
Part Description
  • 9
    84119-03010
    Rheostat
    Rheostat, Light Control
    • Part Notes: Auto Transmission
    MSRP: $263.96 Your Price: $184.87
    1
    Add To Cart
  • 9 Toyota 84119-35010 Rheostat
    84119-35010
    Rheostat
    Rheostat, Light Control
    • Part Notes: Manual Transmission, With Tachometer
  • 9 Toyota 84119-35020 Rheostat
    84119-35020
    Rheostat
    Rheostat, Light Control
    • Part Notes: Manual Transmission, Without Tachometer
  • 84340-32070
    Switch Assy, Stop Lamp
    • Part Notes: W(CRUISE CONTROL)
    • Production Date: 01/1995-06/1997
    • Fitting Vehicle Options: RZN140, 150, VZN150
    • Part Name Code: 84340
    • Replaced By: 84340-04030
    MSRP: $109.43 Your Price: $77.96

OEM 1995 Toyota Tacoma Parts for Cluster & Switches

Genuine 1995 Toyota Tacoma parts are produced by Toyota with the official design and standards, thus they ensure a high quality throughout the production process. OEM parts are the ideal choice for people looking for new Cluster & Switches parts. With our competitive prices, we offer 1995 Toyota Tacoma A/C Switch, Blower Control Switches that fit tight budgets, while still including the manufacturer warranties, a hassle-free returns policy and quick shipping options.