My Garage
Cart
Rear Suspension Components

2013 Scion xD Wheel Hub, Coil Springs, Shock Absorber, Strut Mounts

Currently shopping for
2013 Scion xD
Change Vehicle
Vehicle Options
Base; 4 Cyl 1.8 L GAS
Vehicle Options
Base; 4 Cyl 1.8 L GAS
Categories Close X

Currently selected

Other Categories

A/C & Heating
Air & Fuel Delivery
Belts & Cooling
Body & Hardware
Brakes
Charging & Starting
Driveline & Axles
Electrical
Emission Control & Exhaust
Engine
Headlights & Lighting
Interior & Exterior Trim
Maintenance & Lubrication
Steering
Transmission
Categories Close X
2 diagrams found. Select a diagram to view its particular parts.
  • 1.Rear Suspension - Suspension Components
    2013 Scion xD Rear Suspension Components Diagram 1 - Thumbnail
  • 2.Rear Suspension - Suspension Components (XD)
    2013 Scion xD Rear Suspension Components Diagram 2 - Thumbnail
Sort by:
Ref No.
Ref No.
Part No. & Part Description
Price & Qty.
Part No. &
Part Description
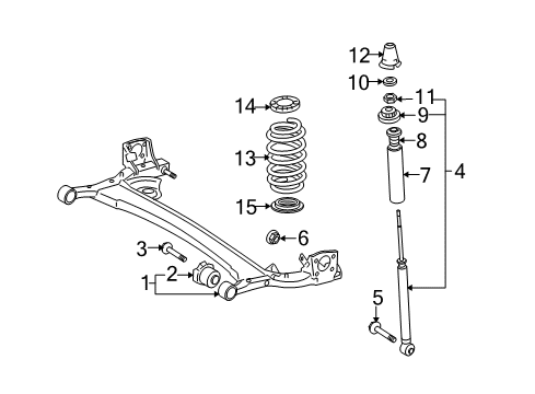
  • 2
    48750-52100
    Support
    Support Assembly, Rear Suspension
    • Part Notes: XD
    MSRP: $46.22 Your Price: $33.21
    1
    Add To Cart
  • 4
    48530-80573
    Shock
    Absorber Set, Shock
    • Location: Driver Side;Passenger Side
    MSRP: $95.29 Your Price: $67.89
    1
    Add To Cart
  • 5
    91673-G1065
    Shock Bolt
    Bolt, Flange With Washer
    • Location: Driver Side;Passenger Side
    MSRP: $3.48 Your Price: $2.50
    1
    Add To Cart
  • 6 Scion 90178-A0131 Shock Nut
    90178-A0131
    Shock Nut
    Nut, Flange
    • Location: Driver Side;Passenger Side
    MSRP: $2.15 Your Price: $1.54
    1
    Add To Cart
  • 7
    42110-52332
    Crossmember
    Beam Assembly, Rear Axle
    • Part Notes: XD
    MSRP: $1865.10 Your Price: $1272.66
    1
    Add To Cart
  • 7
    48750-52100
    Support
    Support Assembly, Rear Suspension
    • Location: Driver Side;Passenger Side
    MSRP: $46.22 Your Price: $33.21
    1
    Add To Cart
  • 8 Scion 48752-52010 Stopper
    48752-52010
    Stopper
    Stopper, Rear Suspension Support
    • Location: Driver Side;Passenger Side
    MSRP: $13.96 Your Price: $10.03
    1
    Add To Cart
  • 9
    48755-52010
    Bushing
    Support, Rear Suspension
    • Location: Driver Side;Passenger Side
    MSRP: $19.78 Your Price: $14.21
    1
    Add To Cart
  • 11
    94130-61000
    Top Nut
    Nut
    • Location: Driver Side;Passenger Side
    MSRP: $1.98 Your Price: $1.42
    1
    Add To Cart
  • 13 Scion 48231-52F80 Spring
    48231-52F80
    Spring
    Spring Coil Rear
    • Location: Driver Side;Passenger Side
    MSRP: $122.24 Your Price: $87.09
  • 14
    48257-52010
    Upper Insulator
    Insulator, Rear Coil Spring
    • Location: Driver Side;Passenger Side
    MSRP: $12.79 Your Price: $9.19
    1
    Add To Cart
  • 15
    48258-52030
    Lower Insulator
    Insulator, Rear Coil Spring
    • Location: Driver Side;Passenger Side
    MSRP: $13.62 Your Price: $9.79
    1
    Add To Cart

OEM 2013 Scion xD Parts for Rear Suspension Components

Genuine 2013 Scion xD parts are produced by Scion with the official design and standards, thus they ensure a high quality throughout the production process. OEM parts are the ideal choice for people looking for new Rear Suspension Components parts. With our competitive prices, we offer 2013 Scion xD Wheel Hub, Coil Springs, Shock Absorber, Strut Mounts that fit tight budgets, while still including the manufacturer warranties, a hassle-free returns policy and quick shipping options.