My Garage
Cart
A/C Compressor

1993 Toyota 4Runner A/C Compressor

Currently shopping for
1993 Toyota 4Runner
Change Vehicle
Vehicle Options
SR5
Vehicle Options
SR5
Categories Close X

Currently selected

Other Categories

Air & Fuel Delivery
Belts & Cooling
Body & Hardware
Brakes
Charging & Starting
Driveline & Axles
Electrical
Emission Control & Exhaust
Engine
Headlights & Lighting
Interior & Exterior Trim
Maintenance & Lubrication
Steering
Suspension
Transmission
Categories Close X
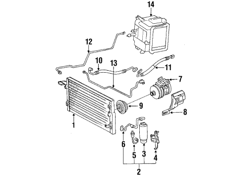
Diagram (1 of 1): Air conditioner & heater - Condenser, compressor & lines
1993 Toyota 4Runner A/C Compressor Diagram
Enlarge Diagram
Sort by:
Ref No.
Ref No.
Part No. & Part Description
Price & Qty.
Part No. &
Part Description
  • 3
    88471-16050
    Tank
    Tank, Receiver
    MSRP: $75.17 Your Price: $54.00
    1
    Add To Cart
  • 9
    88410-35110
    Clutch
    Clutch Assembly, Magnetic
    MSRP: $191.43 Your Price: $135.23
    1
    Add To Cart
  • 11
    88720-35170
    Suction Hose
    Hose&Accessory Assembly
    • Part Notes: 4 Cylinder;6 Cylinder
    MSRP: $173.13 Your Price: $122.31
    1
    Add To Cart
  • Toyota 88410-35150 Clutch
    88410-35150
    Clutch
    Clutch Assembly, Magnetic
    • Part Notes: 4Runner
    MSRP: $212.07 Your Price: $149.81
  • Toyota 88320-35341-84 Compressor
    88320-35341-84
    Compressor
    Remanufactured Air Conditioner Compressor
    • Part Notes: 4Runner; 4 Cylinder
    MSRP: $444.69 Your Price: $311.46
    1
    Add To Cart
  • 88360-2B020
    Shaft Seals
    Seal Assembly, Shaft
    • Part Notes: All Models
    MSRP: $121.74 Your Price: $86.73
    1
    Add To Cart

OEM 1993 Toyota 4Runner Parts for A/C Compressor

Genuine 1993 Toyota 4Runner parts are produced by Toyota with the official design and standards, thus they ensure a high quality throughout the production process. OEM parts are the ideal choice for people looking for new A/C Compressor parts. With our competitive prices, we offer 1993 Toyota 4Runner A/C Compressor that fit tight budgets, while still including the manufacturer warranties, a hassle-free returns policy and quick shipping options.